Free Access

Fig. 10

image

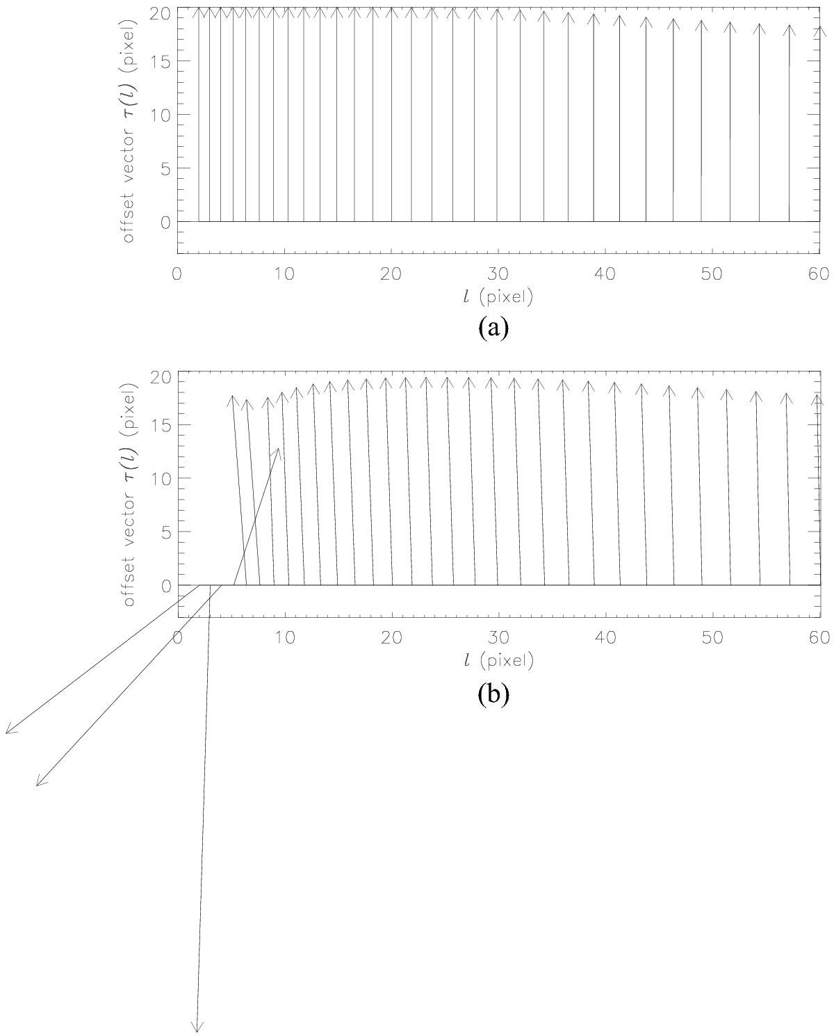
Displacement vector as a function of scale for the pairs of Gaussian maps from Fig. 1. a) Represents the results for pure Gaussians; b) for the maps with S/N = 5. The vectors are shown in the xy-plane for individual discrete lags indicated on the x-axis at the origin of the plotted vectors.

Current usage metrics show cumulative count of Article Views (full-text article views including HTML views, PDF and ePub downloads, according to the available data) and Abstracts Views on Vision4Press platform.

Data correspond to usage on the plateform after 2015. The current usage metrics is available 48-96 hours after online publication and is updated daily on week days.

Initial download of the metrics may take a while.