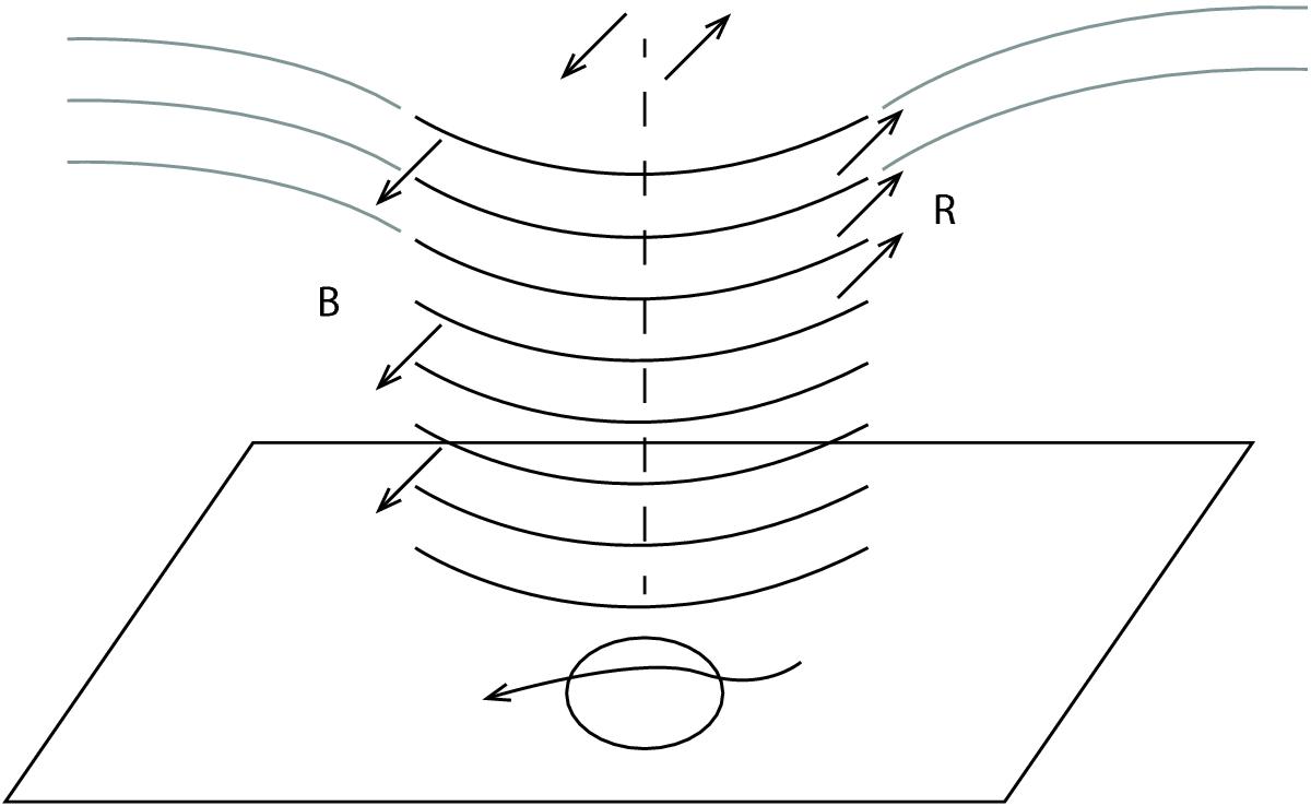
Fig. 8
 
      Sketch of a tornado model for a time during the oscillations. The image shows dipped magnetic field lines of a flux tube attracted by a parasitic polarity (indicated here by the circle in the horizontal plane). “R” means redshift and “B” means blueshift, as seen along that line of sight. The arrows (straight and turning) indicate the direction of motion of the magnetic field lines.
Current usage metrics show cumulative count of Article Views (full-text article views including HTML views, PDF and ePub downloads, according to the available data) and Abstracts Views on Vision4Press platform.
Data correspond to usage on the plateform after 2015. The current usage metrics is available 48-96 hours after online publication and is updated daily on week days.
Initial download of the metrics may take a while.
